BMW’s new boxer engine could feature F1-derived technology

The quest for maximum efficiency is a struggle that engineers always have in general and that has now led BMW to work on a Boxer engine with technology like that used in the Formula 1 World Championship. Achieving an engine that is as powerful as possible while consuming as little fuel as possible, in order to have low emissions, is an outstanding challenge.

We are at a time in history when the future of internal combustion engines is not clear, but it undoubtedly involves reducing their emissions to a minimum, and that is exactly what BMW is seeking in this patented boxer engine.

How to make a boxer engine more efficient?

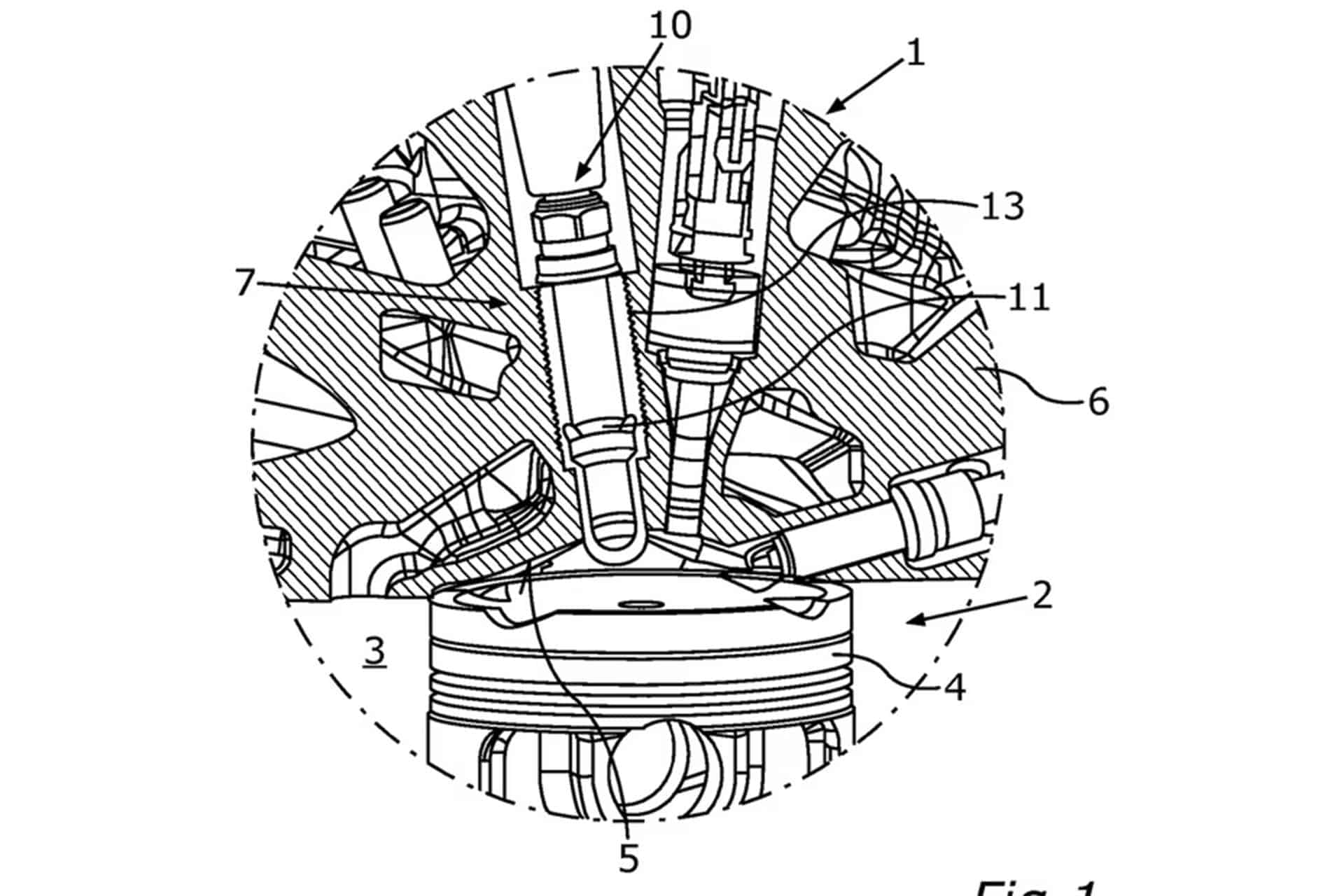
In order to achieve the highest possible efficiency in the boxer engine, BMW intends to use a system that has been used for some time but has been optimised. The spark from the spark plug is placed before the normal combustion chamber. In theory, this increases efficiency and increases performance.

To do this, a pre-chamber had to be created into which the fuel was injected before receiving the spark and passing into the main chamber. This system, which was invented in 1908 for diesel cars, was necessary for this fuel to replace the compressor they had to use. However, they discovered that it increased performance and reduced emissions.

In F1, this system was developed and evolved simultaneously into two types: the pre-chamber. In short, the active chamber, where there is direct fuel injection, and the passive chamber, where the mixture is sprayed into the main chamber. But in the end, they work the same way, which is that the spark plug ignites the mixture there and the combustion passes to the main chamber, where the process ends with another ignition.

Pre-combustion chambers make the engine more efficient

The advantage is that combustion is improved, as the flame is guided into the chamber in a controlled manner and is at its optimum point to take advantage of the mixture. On the other hand, soot and the formation of the famous NOx, nitrogen oxide, can be reduced. Another advantage is that it generates less vibration and makes the engine quieter.

But there are also disadvantages to using this technology, whether in a boxer engine or another type of engine. More heat is generated, the engine construction is more complex and, therefore, the cost ends up being higher.

The system that BMW has patented is a passive ignition system and it is estimated that the same performance could be achieved but with 20% less fuel. But it is not all good news, and on the one hand, motorcycles are not currently subject to the same emissions regulations as cars, so it is not currently necessary. This means that for now there are no known plans to implement this type of boxer engine in any of BMW’s motorcycles.

Happy drivers

Client testimonials

Lisa D.

Customer

Theuth has completely changed how I follow automotive news. Relevant articles, thorough reviews, and an active community!

Hanna A.

Customer

I never miss a live show. It's like having front-row seats at every exhibition or race, but from my couch!

Andrew R.

Customer

As a novice in the world of motorbikes, Theuth's guides and analysis have been invaluable for my first purchase.

Ignite the drive, explore the ride