Electric and Sports: The new cfmoto

A few years ago we thought that the electrical revolution was a matter of little time, but now it seems that at least as far as large motorcycles will have to wait. But that does not mean that marks like CFMoto, which has already made incursions with electric scooters through its Zeeho sub brand and has flirted with off-road electrification, is betting on the next step.

Its last movement comes in the form of a patent of an electric sports motorcycle, although designed to be accessible and functional rather than to compete in figures with the great current references. This new design does not reuse any of its current motorcycles, but starts from scratch. It is committed to integrating batteries as part of the chassis and passive cooling solutions to avoid unnecessary complexities. Although it does not seem revolutionary on paper, it is a project that makes it clear that the Chinese brand prepares for a future in which the electric will cease to be an exception.

Patents show the placement of the components within the chassis

The new electric cfmot is a simple, efficient and practical sports mentality

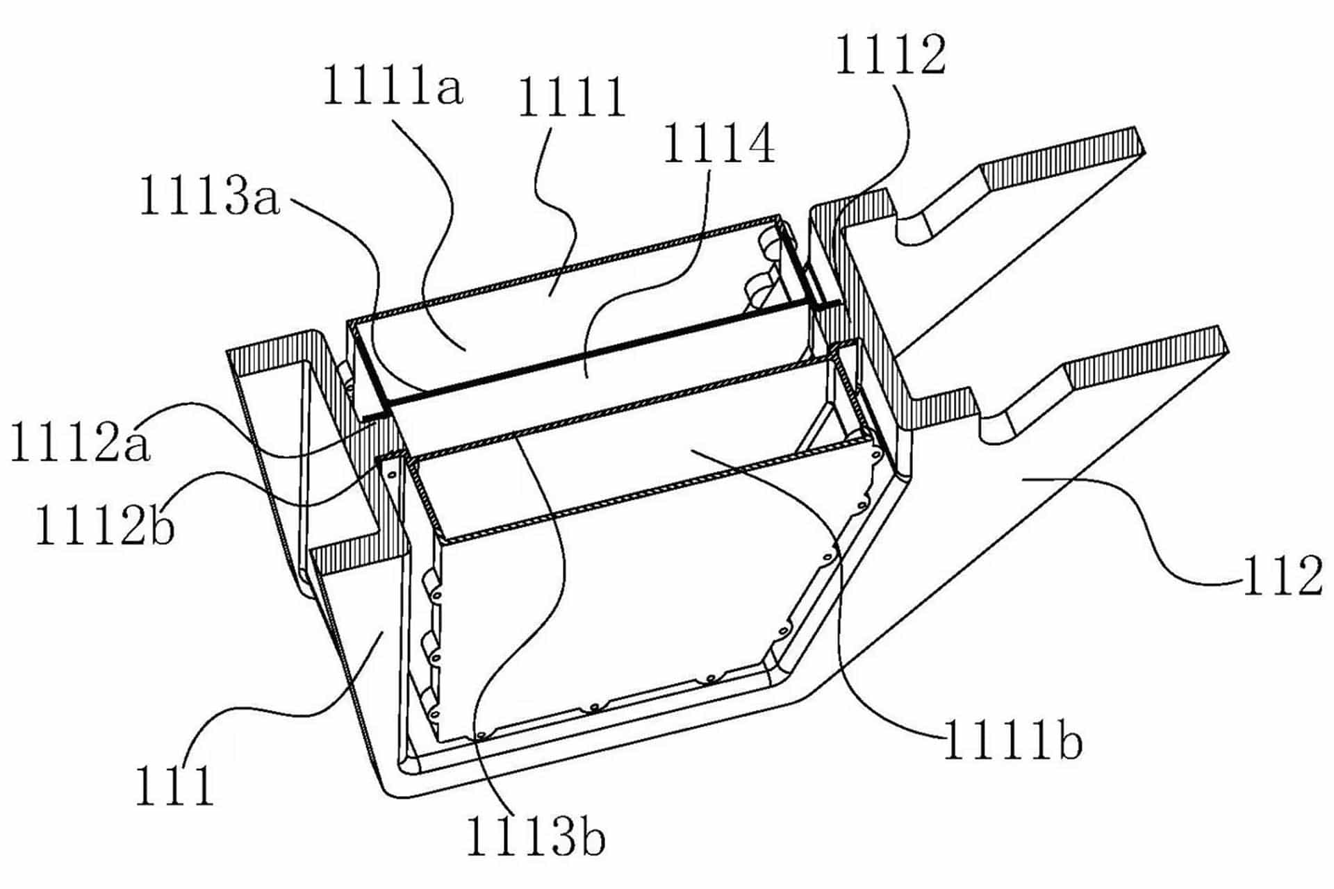
The structure presented in the patent reveals an electrical configuration that prioritizes the space for batteries and thermal efficiency. To do this, the engine and transmission have been placed just behind the tilting axis, leaving the front of the chassis free. This allows the area between the axis and the direction to be filled exclusively with batteries, screwed directly to the frame to form a rigid and functional unit.

One of the particularities of the design is that these batteries are housed in side compartments and, once fixed, create a stagnant space in the center that can be filled with cooling fluid. On the other hand, metal fins transmit heat from the batteries to that fluid, which suggests that the system is intended to endure fast charging sessions without compromising the durability of the set. Mechanical simplicity and integration of elements are a constant in this electrical proposal.


The designs indicate that we would be facing a motorcycle of feeding benefits
The designs indicate that we would be facing a motorcycle of feeding benefits

On top of the frame, they have decided to place all the electronic components and also the taking of the charger, although, as with other models, there is still an area of ​​the gas tank that actually covers all these elements. In the back the design continues the line, which is maintained to the seat. Everything points to a rational approach, closer to an urban sports or a Sport Tourer than to a supersport of extreme benefits.

Although for now there is no confirmation of a production version, this project adds to other previous works of the brand in the electricity field, such as the 300GT-E or the aforementioned CF-X off-road. It is clear that Cfmoto does not want to improvise when it is time to make the final leap. Meanwhile, it continues to accumulate experience, patents and technical solutions that could give it an advantage when the market, finally, decide to change course.

Happy drivers

Client testimonials

Lisa D.

Customer

Theuth has completely changed how I follow automotive news. Relevant articles, thorough reviews, and an active community!

Hanna A.

Customer

I never miss a live show. It's like having front-row seats at every exhibition or race, but from my couch!

Andrew R.

Customer

As a novice in the world of motorbikes, Theuth's guides and analysis have been invaluable for my first purchase.

Ignite the drive, explore the ride