Kawasakiapplying that patience and perseverance that characterizes the Japanese work philosophy, once again demonstrates its inspiring determination by registering new patents related to an engine powered by hydrogen, and the necessary systems with which to maximize its efficiency if it is stored in a liquid state.
Without a doubt one of the “Achilles heels”, within this revolutionary project on which the brand has been working for several years, is the difficulty of storing the gas itself. The clearest example in this sense comes from comparing the space necessary to house the same liters of gasoline as hydrogen. Specifically, six times more space is required in the case of gas.
Liquid hydrogen could be the solution
It has always been on the table to be able to use hydrogen in this liquid instead of it being in the form of a gas. As we explained previously in this article, hydrogen has a higher energy density than gasoline in relation to its mass. However, its energy density is considerably lower in relation to its volume.
By mass, hydrogen contains 120 megajoules/kilogramalmost triple the 46.7 megajoules/kilogram of gasoline. But in volume, even if it is compressed at 700 bars of pressurehydrogen only reaches 5.6 megajoules/liter, while gasoline reaches 32 megajoules/liter.
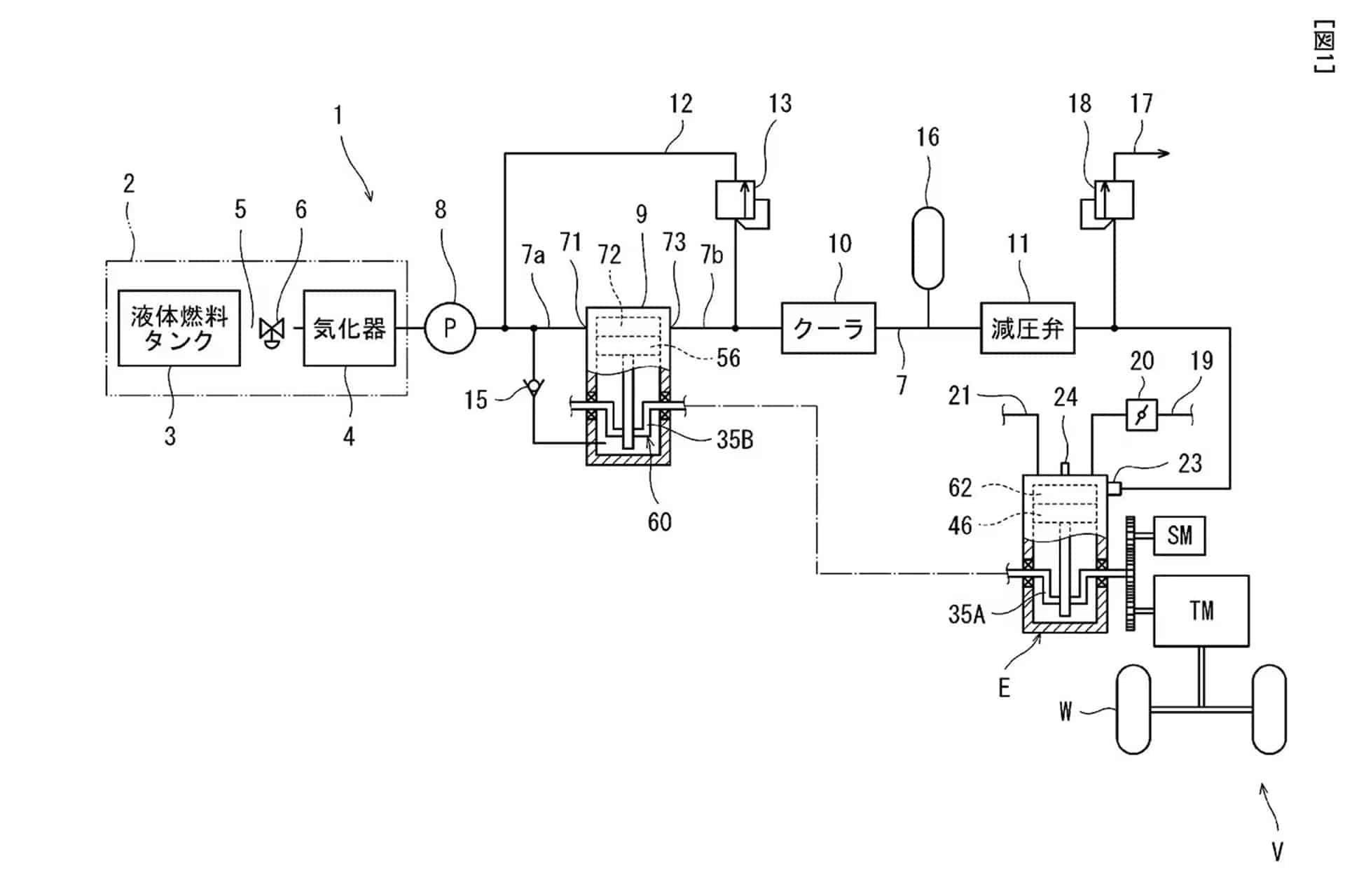
With the new patents filed by Kawasaki, it seeks to move from the compressed hydrogen used to propel the H2 HySE to liquid hydrogen. The problem is that the necessary pressure is required to be able to inject it directly into the combustion chamber. As Cycle World colleagues explain, “requires one fuel pump to compensate; or, in Kawasaki’s new design, two, the second consisting of an additional cylinder and piston integrated into the engine itself.”
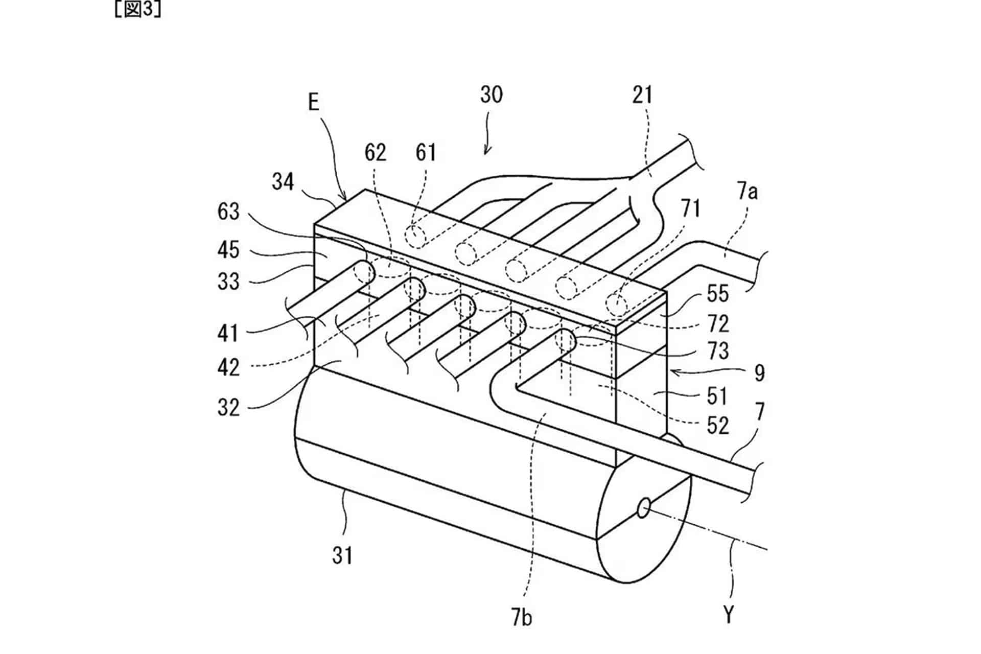
The images registered in the patent office show us a four-cylinder in-line engine with a fuel pump attached to the block itself, to the point that it gives the impression, at first glance, of being a fifth cylinder. This same technical configuration could be replicated in a V8 engine by adding two side pumps.
Thus, “the hydrogen is stored in a liquid state in a tank (labeled “3” in the illustration). From there, it goes to a vaporizer (4) that allows it to reach enough temperature to vaporize, and then to a rotary pump (labeled “8”) that drives it to the much larger reciprocating piston pump (“9”), which looks like an extra cylinder and piston, driven by the engine crankshaft.”
Finally, it should be noted that this pump is capable of raising the fuel pressure to about 1,500 psi or more. At this point it could be efficiently injected into the combustion chamber. In any case we are talking about “theory” so it is quite unlikely that this technical solution will end up being applied in the short term in the motor industry. Even less so in a motorcycle engine, given the complication involved in storing the liquid hydrogen itself.


