Recently, Aprilia has registered several patent applications, where it shows us that your vision goes far beyond the simple aerodynamic load to explore the soil effect. Since MotoGP opened the doors to modern aerodynamics, every season has brought a new twist. At first it was the race to see who mounted the largest wing, then it was the turn of the mobile appendices, the “mustaches” and the famous “salad boxes” of the rear hill.
Behind these innovations is Luca Marco, the technical head of the Aerodynamic Area of April Racing and, coincidentally, exingenero of Formula 1. Under its baton, the RS-GP has won in complexity, but also in identity. The new ideas that it has put on the table mixes concepts of the F1, such as the soil effect and the diffusers, with solutions adapted to the single two -wheeled language.
Although many of these pieces have already been seen in private tests, not all have yet reached the races. The publication of these aerodynamic patents related to the soil effect suggest that it is not just about laboratory experiments. We may be facing the advance of a new visible evolution … or even commercial.
None of these patent soil effect serve on MotoGP, but for serial models
One of the most striking ideas is that of panels mounted on the sides of the rear trench, which act as authentic inverted wings. Unlike traditional spoilers, these surfaces are designed to take action when the motorcycle is at the limit, in full inclination. Its wing -shaped profile, wider above than below, allows generating a combination of descending force and lateral thrust that, in theory, helps counteract centrifugal force into curve.
It is not just stability, it is active assistance in full traced. Right in front of the rear axle, another small spoiler is oriented towards the asphalt. Its function, according to the document, is clear: create a low pressure zone between it and the soil to improve curve support. That is, introduce the soil effect – that the F1 revolutionized in the 80s – in a completely different and even more challenging context.
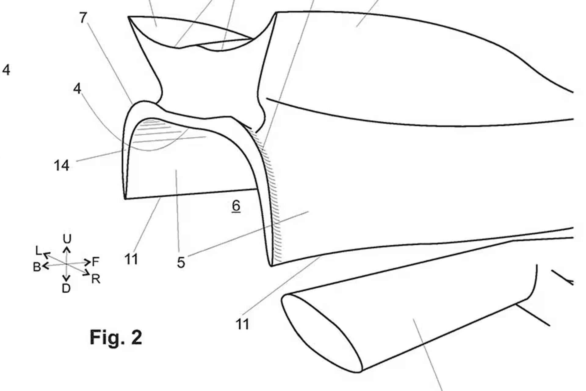
The second patent points to an area normally little exploited in the aerodynamics of a motorcycle: the space between the upper part of the rear tire and the base of the hill. There, Aprilia has designed a tunnel that functions as a diffuser, intended to accelerate air flow and generate suction from the bottom of the motorcycle. In addition, this system is complemented by a elevated wing at the end of the hill that would help evacuate the air more efficiently and that, incidentally, could house internal elements as part of the electronics or a mass damping system.
It is still curious that Aprilia has decided to patent these concepts, knowing that the Technical MotoGP regulation does not protect these ideas against the direct copy between equipment. However, if you think about a future production motorcycle or special edition of exclusive cut, such as the expected APRILIA X-GP, these developments related to the soil effect on a motorcycle could have a key role. And that could not replicate it so easily their competitors.


