BMW Motorrad’s R&D team seems to be plunged into the improvement of its new aerodynamic systems as demonstrated full lying inside a curve.
Undoubtedly a new episode in the race for the most efficient aerodynamics, taking into account that it is very likely that the brand ends up competing in the MotoGP World Cup from the 2027 season.
As we already tell you in detail in this article, from that date they will seek, according to FIM and Dorna itself, more security, more sustainability and more spectacular if possible. For this, the World Cup organization will focus mainly on six basic concepts that are the engine, height variation devices, concessions, shared data, fuel and aerodynamics.
Precisely on the latter, the German brand has been working for some time, as we have given you in recent months. From the development of a new chassis and carbon swinging in one piece, through an air channeling system, which would seek to achieve more adhesion the front axle to an active aerodynamic system for S 1000 RR.
Variable exhaust system: how works
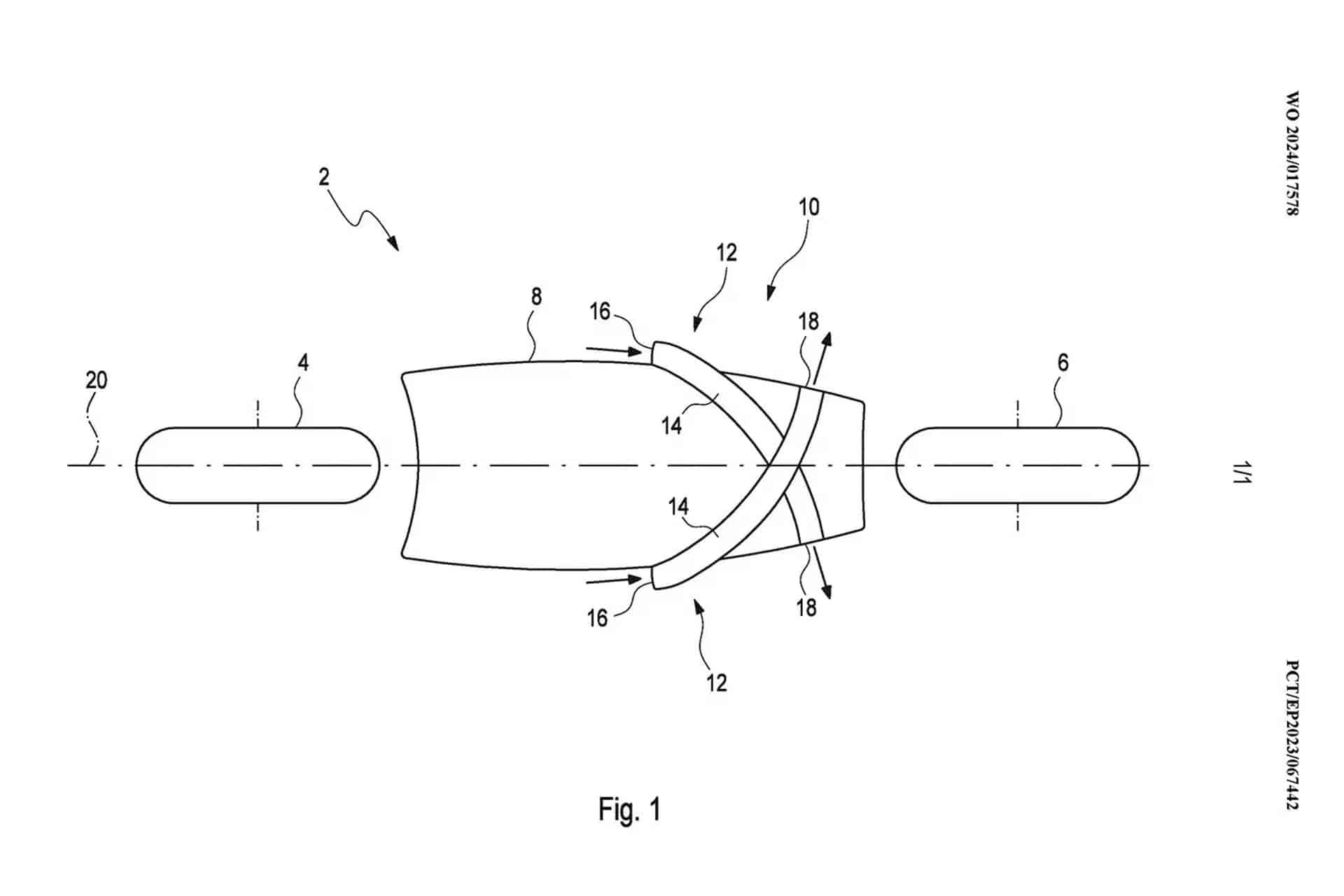
All of them now converge on the latest novelty related to this topic, a variable escape system capable of redirecting exhaust gases to improve curves. As explained by Cycle World, relying on the only image that is known, for now, of that patent: “It shows a cross section of the bottom of a motorcycle, in inclined position, as if it were taking a curve.”
And it continues: “Inside, the circular components represent the exhaust, being the upper part (labeled with number 20) a section of the main duct of the exhaust system. It is connected through a molded channel to another circular element, labeled as “22”, which contains a rotating “distribution device” that is controlled by an electronic actuator. “
Concludes: “Within that distribution device there are a couple of exhaust ducts, each of them curved in opposite directions, and there are corresponding exhaust outlets on each side of the lower fairing of the motorcycle. By turning the distribution device a few degrees, the exhaust flow is directed to the left or right side of the biker’s fairing. ”
Grocer, when the motorcycle leans to the right, the exhaust gases would go out on the left side, pushing the trajectory in and vice versa. Somehow, the brand would resort to a technique already previously used in Formula 1 and its famous aerodynamic diffusers, which precisely used the exhaust gases to create aerodynamic load. Returning to MotoGP, at present, the motorcycle revolves around this last factor, with the inclusion of large frontal, lateral and even rear ailerons.
In any case, it is unknown if this variable exhaust system will finally occur to be used in competition or any brand motorcycle. This doubt increases with the change of MotoGP regulations and if an innovation of this type would be accepted by the organization of the championship.


