From a few years to this part, the complex technique used in MotoGP usually derives sometimes in the development by the brands of new innovations focused on improving the performance of their motorcycles in competition. This could be the case of the last Honda patent in this regard, although initially it is presented on the platform of the current CBR250RR, a model that the Japanese firm markets in much of the Asian market.
Analyzing the related images of the last Honda patent, we can see how the brand seems to have a primary objective in its design: Avoid tire overheating. To do this, it proposes a particular design of the tires, as well as the addition of an aerodynamic roof and huge discs that cover almost the entire inner surface of the front tire itself.
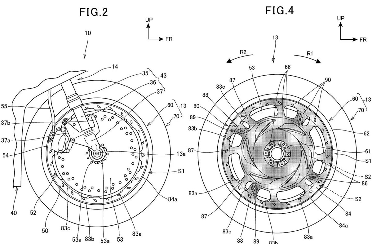
The last Honda patent focused on managing the brake temperature
In relation to the last Honda patent we have the detailed article where we explained how the brakes of a motorcycp work. Equipped with discs of 320, 340 and even 355 mm in diameter, these are generally manufactured in carbochocemic material and can also be of greater or lesser density, depending on the conditions that will be required at all times. A greater density better heat evacuation and vice versa.
We must take into account that these braking systems are subject to temperatures that can sometimes reach the 800º, so, in addition to the material used in their manufacture, some of the elements that make up the system itself have a special design with the intention of evacuating the greatest possible heat in the area. For example, the clamp, which has cooling fins and ventilated pistons.
Now, with Honda’s last patent, we can see how the signing of the golden wing tries to go one step further in this matter. Although the documentation does not specify that this type of technological innovation is thought exclusively for the competition, it makes no sense to mount it on a street motorcycle. Much less in a CBR250RR, a mount that in any case offers discrete benefits.
The huge discs used in the front axis (presumably manufactured in carbon fiber), as well as the lateral aerodynamic tapacubos designed to dissipate the heat generated in this specific area. As explained by Cycle World, after having access to the patent itself, “The tweezers only hold the edges of the discs, as in a conventional design, but the wide central section acts as a heat dissipator, distributing the temperature over a broader area.”
Finally we can verify how “The tapacubos … fulfill two functions. The face near the disc has aerodynamic elements in the form of a blade to dissipate the heat, while small bumps (marked with a” 90 “in the images) are supported against the tire, minimizing the contact between the roof and the wheel and maintaining a constant air space to isolate the heat tire that passes from the brake to the tapacubos. When preventing the brake temperature from being transmitted tire, prevents the front tire from filtering. “


