Kawasaki has upset the hearts of its followers after publicly announcing that it “has listened” to their requests for the launch of a new model powered by a 2-stroke engine. A topic that has been simmering since last July 2024, the news broke that the Japanese firm was studying returning to Q2, but also with disturbed mechanics loaded with new technologies.
Then the images of the patent registry that the Akashi brand had presented, regarding an engine of these characteristics, were leaked. A technical compendium of 2-stroke engines with turbo, direct injection and intake valves that seeks to take advantage of the advantages of two-stroke engines, without suffering their characteristic power losses.
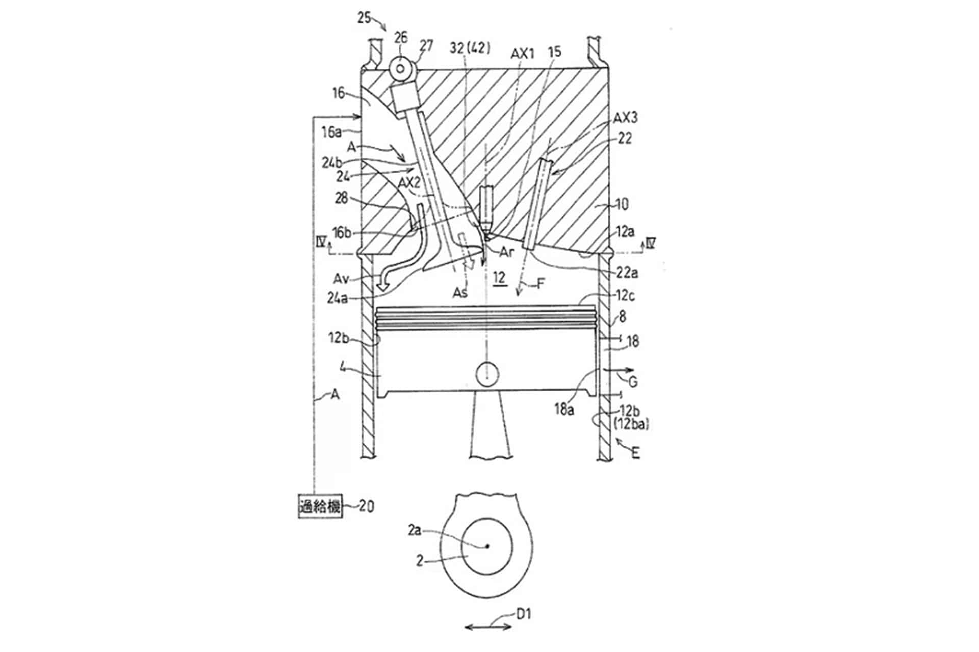
For this, Kawasaki would use intake valves actuated by a camshaft, supercharging of the intake air and direct injection. The latter avoids large losses, since the turbo or compressor only pushes air through the intake valves. The overpressure acts as a pre-compression and helps expel exhaust gases from the cylinder.
Is a new Kawasaki 2T possible?
After this announcement on social networks, there has been a wave of opinions and possible theories about the type of vehicle that Kawasaki could be preparing, to use a two-stroke engine as the main source of propulsion. Although there has been speculation about the possibility that this mechanic will end up being implemented in sectors other than two wheels, the truth is that the brand has not yet commented on the issue.
This means that, for now, we cannot confirm that the future model with a two-stroke engine from the Japanese firm will be included in its parent company in charge of developing new types of motorcycles. Nor should we assume the opposite, although we must be realistic about the issue, taking into account a key aspect of this issue: Anti-pollution regulations.
A two-stroke engine, on its own, would almost certainly not be able to obtain the current homologation in this matter. That is why, from international media that have echoed the news, they point to a mount powered by a hybrid mechanics, where a small 2-stroke engine is part of the technical set, something that would still be confirmed in any case.


