We have been hearing about hydrogen projects for years, with development that is slower than imagined but, at the same time, continues to advance. One of those drivers is Toyota, which now seems to focus on two wheels.
At least that is what the leaked patent that they recently presented in Japan reflects, and which describes a scooter powered by a hydrogen cell with an interesting nuance: it does not contemplate refueling but rather the exchange of tanks.
The document takes as a reference the much talked about hydrogen Suzuki Burgman, which was first shown almost 15 years ago. Starting from that base, Toyota creates its own interpretation using hydrogen to generate electricity.
The system described in the patent avoids high-pressure refueling. Instead, it proposes using pre-charged tanks that can be replaced quickly, something we already saw a while ago, in a process similar to changing the battery in some electric models. The operation would be simple: remove the empty tank and place a full one at the service station. The objective is to simplify the use of hydrogen and avoid the limitations associated with its storage and refueling under normal conditions.
Having interchangeable hydrogen tanks poses other difficulties
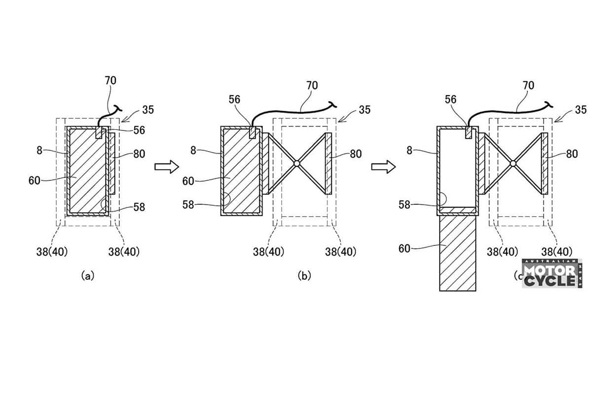
One of the points detailed in the patent is the integration of the tank within the structure of the scooter. The proposed solution seeks to lower the center of gravity, but complicates access when replacing it.
To solve this, Toyota proposes an articulated system that allows the tank to be moved to the side. Two variants are detailed: one with a front hinge that makes the tank protrude to one side and another with scissor-type arms that move it, keeping it parallel to the assembly.
According to the document itself, this type of solution fits well with fuel cells. It allows maintaining greater efficiency compared to hydrogen combustion engines such as, for example, the one we have seen in Kawasaki with the H2 HySE, and avoids nitrogen oxide emissions. In addition, the use of sealed tanks helps protect the system from possible contaminants, something especially sensitive in this type of technology.
For now there is no information that points to a short-term production model. The patent is currently in the conceptual phase, although it makes clear Toyota’s interest in expanding its hydrogen strategy to smaller vehicles as well.


