Several months have passed since we knew, for the first time, the images of the patent record presented by CFMoto in reference to a safety belt system to equip some of its models. Similarly, at the end of the past 2024 the Asian brand offered us the first details of the future CFMoto 750sr, the new 4 -cylinder sports car in which it already works.
However, we overlooked a very important detail of the equipment that the latter showed, also related to the patent we were initially talking about. While a priori it seems that what appears on top of the pilot’s seat could be an extensible cup or grab for the passenger, from Cycle World confirms that it is almost certain that we are before the future brand safety belt system.
Cfmoto safety belt system: what we can expect
To put in context the safety belt system that could implement CFMoto in its models, we must go back to July of last year to put its design and operation in context. The leaked patents showed us different retention systems.
In this way, the brand is looking for the most effective way that motorcycle seat belts are comfortable, practical and effective. In any case, the brand suggested up to three types of retention systems that could be working:
- The first of the systems would be anchored to the deposit and had a system that would allow them to open and close them to get and get off the motorcycle.
- The second of these systems is more similar to the protection bars that we can find in the Russian mountains of the attraction parks, that is, a bar that goes down in front of us.
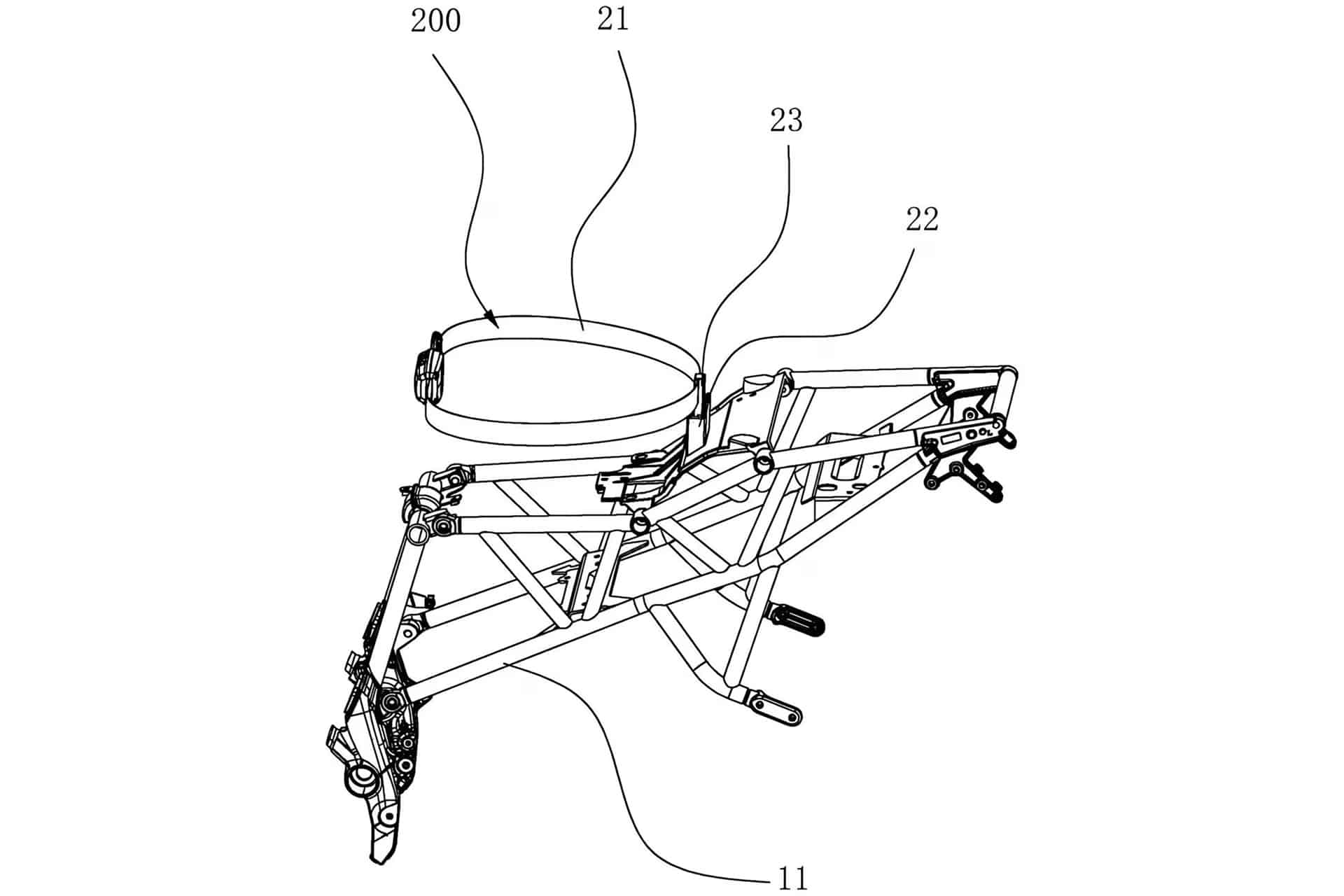
- The third system that looks like the simplest and most practical that is the safety belt anchored to subchassis.
In the case of CFMoto 750SR, initially, the third of these systems, designed to function only in case of frontal impact. Similarly, this method would allow to be able to let go quickly and simply in accidents of another type in which it is necessary to be fired from the motorcycle itself.
As we see, the seat belt emerges from the bottom of the co -pilot seat and is anchored to a transverse pivot that acts as a retainer. We return to the initial idea that the function of this system is only to retain the passenger in case of frontal impact, granting the necessary movement in other directions, similar to what happens with car belts.
We do not know very well when the new 750sr CFMoto will be launched to the Asian market, and if the brand will finally integrate this security system. Nor is it very clear if it would be homologable to be used in our continent, something that would still see. In any case, there is still time for any of these things to happen, so it is time to wait for new news by the Chinese firm itself.


