Patenting a reverse system is nothing new already in this world of the two wheels. Especially in the segments where we find high weighing motorcycles that, depending on what conditions, is not easy to move them in standing. This is the case, for example, of the well-known 1250tr-G cfmoto, a mount that is only available in the Asian market.
A RARE Av within the Grand Touring category for such different issues as its motorization, or the price to which it is marketed. In the first case, taking advantage of the collaboration between the brand and KTM, uses the well -known bicilindrical propeller in V at 75º of 1,279 cc that promoted the previous generation of 1290 Super Duke. For the “Solo” occasion, use of 140 hp of power at 8,500 rpmdeclaring a maximum pair of 120 Nm at 7,000 rpm and a peak speed of 240 km/h.
On the other hand, we have the official rate to which CFMoto offers us its current flagship, just under 15,000 euros in the Chinese domestic market. Really attractive price taking into account the “quality and quantity” offered by the brand, in exchange for such a tight figure.
If we unite the possibility that we can soon enjoy it in Europe, we are undoubtedly before the ideal motorcycle for those long -term intercontinental routes.
CFMOTO IN DETAIL Back system
In order to improve the comfort of its Grand Tourer, Cfmoto has registered a patent referring to a back system with which to facilitate the movements in the stand of its 1250tr-G. As we said in the first lines of this article, it is not a novelty to find this type of technological innovations within the ranges of certain brands that market high weighing models.
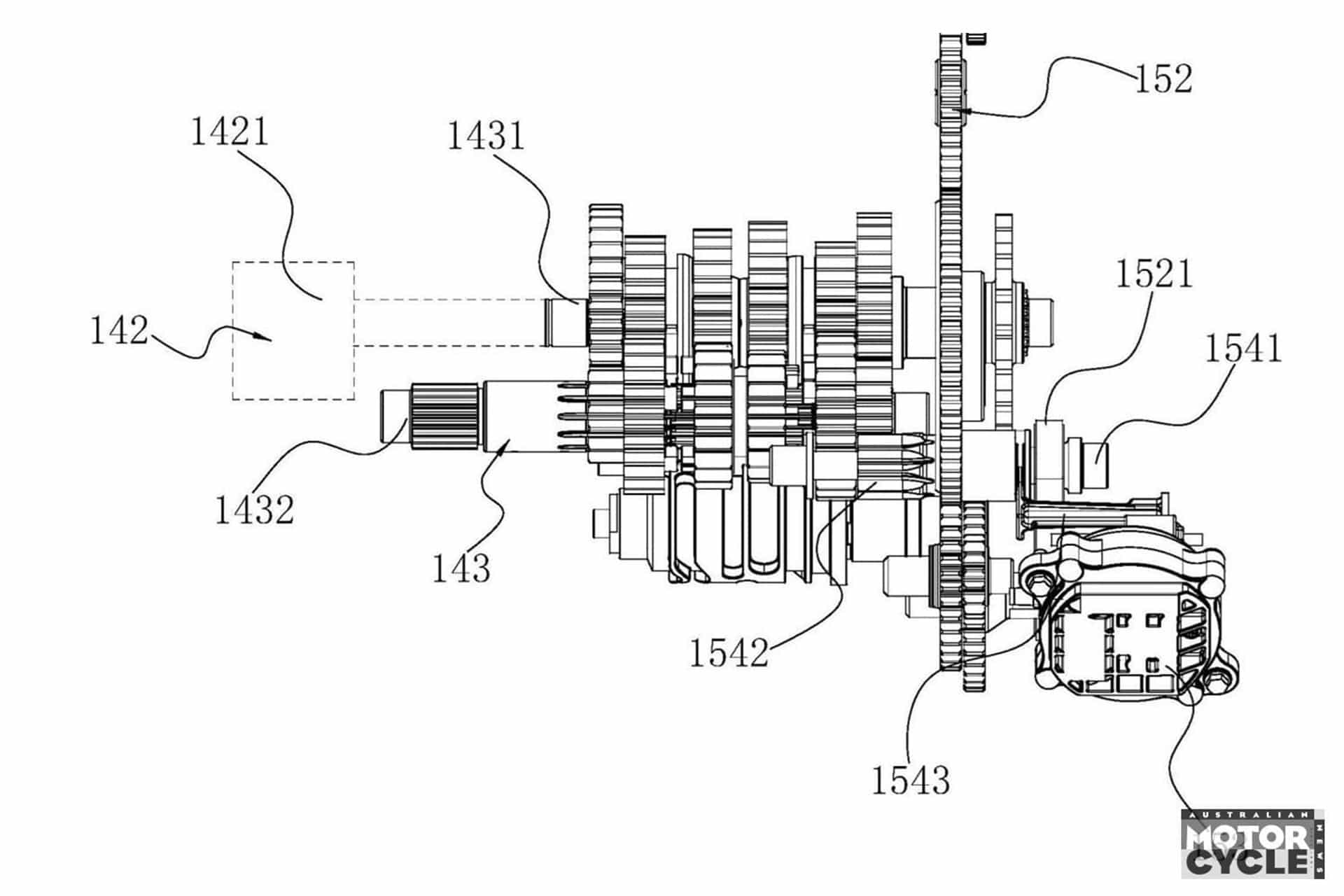
However, the CFMoto reverse system, initially for 1250TR-G, stands out for its technical configuration, since it would not be integrated as such within the gearbox itself. As detailed from the Australian environment AMCN, which has had access to the description of the patent itself: “The proposed back system uses an electric motor and a series of gears to connect it to the transmission, with its own fork of changes.”
And continue explaining that this remains “Operated independently of the main gear drum through an electronic actuator, to attach or decoup off the reverse. There is a block that prevents it from selecting when any of the marches is also coupled forward, so it is necessary to be in a dead man before putting back and the motorcycle cannot be put in another march until the reversing system has been decoupled. ”
As we see, Cfmoto has sought an alternative reverse system to what we already know in other similar models. In addition, it has the advantage that a march cannot be engaged with the system acting until we return to the initial point.
In short, a new advance in the comfort section that we are very likely to see soon in the 1250TR-G or any other high performance model of the brand.


