“Unit and win,” they will have thought from the KTM R&D department when they were trying to shape their new generation hybrid compressor system. Basically, because this would be halfway between technology referring to this field that currently uses Kawasaki, and which will soon implement Honda in its new models equipped with its new V3 engine.
In short, the Austrian brand would be developing an electromechanical compressor combining the benefits of both technical configurations.
KTM hybrid compressor would be valid to equip on almost any combustion motorcycle.
The recent patent record carried out by KTM gives us an idea of where the shots could go, in terms of mechanical design, within the European firm. But not only that; It also ratifies the implementation of compressors, of different types, within the two -wheeled sector. If the production would join the two Japanese brands that are currently more focused on the development of this technology in their internal combustion engines: Kawasaki and Honda.
The first has been using a mechanical compressor in its H2 Ninja. For its part Honda presented in the last eicma edition its new four -stroke V3 and 75 ° equipped with the world’s first electrical compressor for motorcycles, which can control the compression of the admission air regardless of the engine revolutions, which means that a torque of high response can be delivered even to low revolutions.
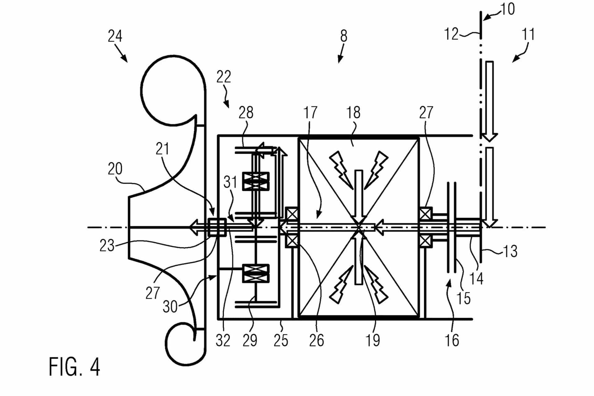
Now KTM wants to go one step further with his own vision of how a hybrid compressor integrated into the mechanics of a motorcycle should work. As detailed from Cycle World “In this KTM patent, it affirms its intention to use a spiral type compressor, similar to VW G-Lader blowers, although the document indicates that a centrifugal supercharger could also be implemented (such as that used by Kawasaki and the Honda V3 concept).”
As a greater difference between the KTM hybrid compressor and the one used by the two Japanese engines, we find it in their drive, since it makes use of both a mechanical connection to the engine crankshaft and an electric motor. In this way, operational efficiency rises considerably. Cicing the faithful description that Ben Purvis makes about the matter:
«With a small clutch electronically operated between the compressor and the engine to decoupling the supercharger when you need to use electric energy to turn faster than the engine’s RPM alone would allow. By decomposing the supercharger, as shown in the illustrations of the patent, the engine entry comes from a transmission chain (number 12 in the drawings) connected to the engine output axis. » Together, the KTM hybrid compressor system would achieve greater mechanics efficiency throughout the usable revolutions.
But not only that; In addition, the level of emissions emitted could be reduced and we would not suffer the annoying delay of the conventional turbos, an aspect that ended this type of technology in the eighties, both in the motorcycle sector and in that of cars. Finally, clarify that a great power or size battery would not be needed, since electricity would only be used in limited situations. It would be the supercharger itself in charge of acting as an energy generator in others.


