We have been hearing about augmented reality for a long time now. Do you remember Google Glass? Well, 11 years have passed since then. Although technology has advanced and there have even been small companies that have opted for it, the truth is that the motorcycle industry has not yet fully entered it except for some exceptions such as the project that Nolan presented.
The reason? Presumably the high costs of developing this type of technology to the level expected from a large brand. To get an idea, the augmented reality helmets of the F35 fighters with which they have replaced the plane's HUD systems, have a unit cost of about 400,000 dollars, that is, more than 368,000 euros at the current exchange rate for each helmet.
But the cost of a helmet with augmented reality taken into production for motorcycles, logically, would not have the same functions nor could it cost those amounts of money because, simply, it would not have a place in the market. However, the fact that we do not currently have big brands with this type of helmets on the street does not mean that they are not working on it.
The last company whose activity we have learned about and the development of a helmet with augmented reality is Yamaha. Already in 2015 we could see a model with HUD screens and augmented reality technology, but now some patents have been leaked that shows that the brand with the three tuning forks is still committed to this technology.
We must not forget that Yamaha, in addition to producing motorcycles, instruments, engines… has also always been committed to technology. In fact, if you remember, a robot was able to drive a Yamaha R1 a few years ago.
Yamaha's augmented reality helmet is different from the model we saw in 2015
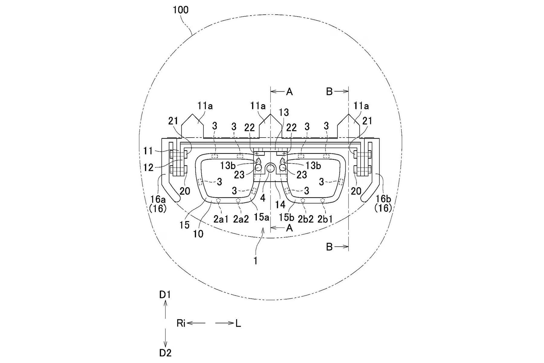
On this occasion, technology is for humans and to make the way in which information reaches the user while driving more comfortable, effective and safe. To do this, as the patents of Cycle World colleagues show, the helmet would have a total of four cameras pointing at the user's face, which would give the system information on where to project the images on the HUD-type screens.
And unlike the model that we saw in 2015 and that the article illustrates, this helmet with augmented reality would not transmit the image to the user through cameras. The screens would be placed in the field of vision and, on them, the necessary information would be reflected.
A system similar to what we can find in augmented reality glasses that are so fashionable right now, or in smart helmets, and a way to reduce costs by not having to have more cameras and screens.
Of course, like everything related to patents, the fact that Yamaha is working on it does not mean that it will necessarily reach production and that if it does, it will be in the short term.


