Honda wants you to take your kids for a ride. Its latest compact bike has 3 seats, and it’s great

Honda’s ingenuity continues to generate new mobility possibilities on one of its most recent vehicles, the MotoCompacto, successor to the iconic MotoCompo and which, in addition, continues to treasure the same philosophy that the initial model presented by the Japanese firm in 1981 had.

Today, more than four decades later, the capabilities of this urban vehicle continue to evolve. They are also looking for ways to make it suitable for family use. That is at least what we can deduce from the brand’s latest patent registration, which confirms that it could be working on a four-wheeled, three-seat variant of the versatile MotoCompacto, called in its internal code “Mobility Apparatus”.

A compact motorcycle to enjoy in company

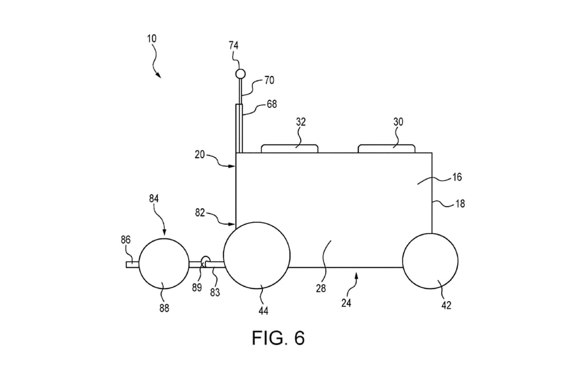
Now, thanks to our colleagues at Ride Apart, we have discovered the images that represent what appears to be a new generation MotoCompacto, Equipped with four wheels and with capacity for up to three peopleIn them we can see how the small Honda vehicle would have two usable seats on the body itself, and a third placed in its rear part.

The latter would consist of a platform where the pilot would stand. In front of this are the two seats already mentioned, which also have two handlebars to hold on to. The images themselves make it clear that this Compact four-wheeled motorcycle It would be intended for use by one adult and two children. We do not know what the maximum weight that would be allowed to be carried is, but in any case the details of the patents provided by Honda make this explicit.

Honda registers new patents for a new Compact Motorcycle: Now in "family version"

The text attached to these explains that: “Many parents like to take advantage of or expose their children to different experiences in cities, city centers, or large shopping areas. The main goal is to provide opportunities for a family to focus on interacting with each other and to provide opportunities for additional, previously unplanned destinations (within the city center) to enhance urban cultural experiences. However, for mobility travel to be a source of excitement for children, new modes of transportation are required.”

“Driving and parking in cities can be expensive, and public transport is largely a point-to-point transport alternative. The solution is to minimise waiting time for transport and not have children walk long distances with predictable results. The need has been identified for a family mobility device that has a compact design, can be stored on public transport and includes electric motors so that families find it fun to travel further together in a city or urban environment.”

Honda registers new patents for a new Compact Motorcycle: Now in "family version"

The brand makes clear what its intentions are with this four-wheeled MotoCompacto: To offer a mobility option within cities where we can transport children in an efficient way and, in addition, they can enjoy the experience.

In addition, it offers a large space under the seat, ideal for transporting those things that we usually carry in situations of this type. Without a doubt, an interesting idea that could come to fruition.

Happy drivers

Client testimonials

Lisa D.

Customer

Theuth has completely changed how I follow automotive news. Relevant articles, thorough reviews, and an active community!

Hanna A.

Customer

I never miss a live show. It's like having front-row seats at every exhibition or race, but from my couch!

Andrew R.

Customer

As a novice in the world of motorbikes, Theuth's guides and analysis have been invaluable for my first purchase.

Ignite the drive, explore the ride