Technological systems, within the world of two wheels, seem to have no limits. You just have to take a look at Bosch's latest patent record to draw your own conclusions about how it works and what it intends in the first place. Undoubtedly, we talked about paper, since at the moment, we have not gone further. Although almost everything is possible within this area today.
The news, initially reported by Ride Apart colleagues, refers to this new Bosch system aimed at group riding of bikers. Apparently, the German firm seeks to make this type of travel safer thanks to this new technology that they themselves are working on.
The Bosch system coordinated with the rest of the traffic
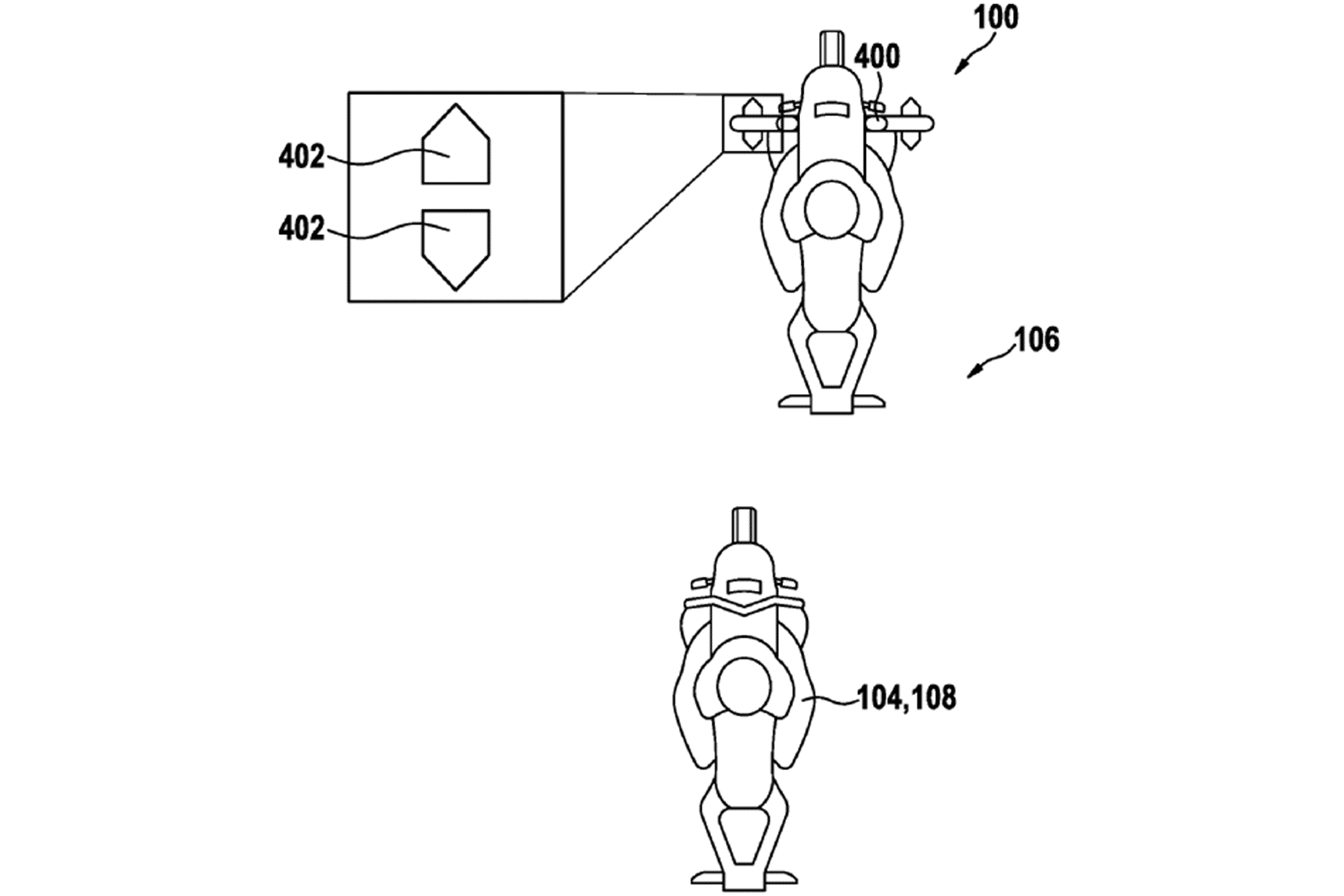
Apparently, Bosch advocates the use of different sensors and systems, with which we can coordinate with those bikers who are part of our group on each outing. The idea is to be able to detect the exact position of each and every one of them without having to take your eyes off the front. But also that of other types of vehicles such as cars or trucks.
To do this, it uses several sensors distributed throughout the different parts of the motorcycle, which would collect real-time information on the position of our group mates. These data would go directly to a switchboard in charge of processing them, in addition to sending all the information to the dashboard.
On the other hand, these same sensors can also be combined with other systems such as radar control, blind spot detector and even different recording cameras. Even send signals to the control panel of any member of the group, so that they maintain constant speed and distance from the rest of the members.
However, if the system bosch seeks to improve the safety of group driving, we are not very sure (pardon the redundancy) if, having to continually pay attention to the instrument screen, we would achieve this objective.
Extrapolating the Bosch system to the automotive world, we can see how currently we cannot operate our mobile phone while driving, but we can manipulate the different screens that we find as controls in the majority of models that are currently marketed. A contradiction in itself.
Returning to the Bosch system and carefully reading the patent, it is committed to not having to constantly look in the rearview mirrors to locate our colleagues.
Once again a question comes to mind, isn't it easier to pay attention to the road and everything that happens before us, what slopes where our fellow travelers are coming from? What do you think?


